
(01 Series) Single-row Four-point Contact Ball Type Universal Joint - External Tooth Design
Structural Features, Performance, Application Scope
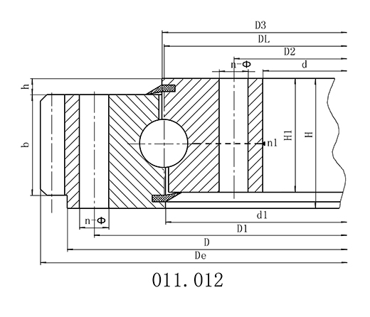
A single-row four-point contact ball-type swivel bearing consists of two rings, featuring a compact structure, light weight, and steel balls in contact with the circular arc raceways at four points. It can simultaneously withstand axial force, radial force, and overturning moment. Suitable for various construction machinery such as rotary conveyors, welding manipulators, medium and small-sized cranes, and excavators.






















