Product description
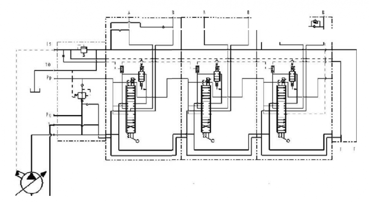
The proportional multi way valve with load sensing and rear pressure compensation can achieve proportional diversion, and the main valve core reset adopts spring reset method, which can provide better flow characteristics and low hydraulic power. Load sensitive proportional valves are designed specifically for complex operating conditions and have the following advantages:
MAX flow rate 220L, rated pressure 31Mpa
Post installed pressure compensation technology to achieve synchronous proportional diversion
Sensitive load sensitive proportional control technology ensures precise control
Compact in size and powerful in functionality
Customization, available for complete system supply
































