








|
Home > SupplyPro Co., Ltd. > Graphene Waste Gas Treatment Equipment
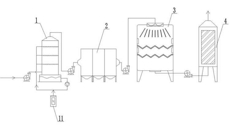
Graphene Waste Gas Treatment Equipment
详细Info
|
b2b.china9.net © Zhongshang 114 Hebei Network Technology Co., Ltd.Address: Room 6009, Oriental New World Center, No.118 East Zhongshan Road, Qiaoxi District, Shijiazhuang City, Hebei ProvincePlatform Service Hotline: 4006299930
