公司主营:Electrical instruments and meters manufacturing; Intelligent instruments and meters manufacturing; Capacitors and their matching equipment manufacturing; Transformers, rectifiers, and inductors manufacturing, etc.
15821713522





Company Qualification
ASJ Series Intelligent Residual Current Relays
Details Introduction
Function:
This series of relays can be combined with low-voltage circuit breakers or contactors to form a combination-type residual current protector. Mainly suitable for AC 50Hz, distribution lines of TT or TN systems with rated voltages of 400V and below, to prevent equipment and electrical fires caused by ground fault currents. It can also provide indirect contact protection against electric shock hazards to humans.
Application Scope:
Applications requiring residual current detection and grounding fault protection for electrical circuits.
Order Example:
Specific Model: ASJ20-LD1C
Technical Requirements: Rated residual operating current 300mA; maximum non-driven operating time 0.5s; when powered on, the relay outputs 1 set of normally closed and 1 set of changeover.
Communication Protocol: None
Auxiliary Power Supply: AC 220V
Technical Specifications:


Application Network Diagram

Exterior Installation:
Dimensions


Wiring method

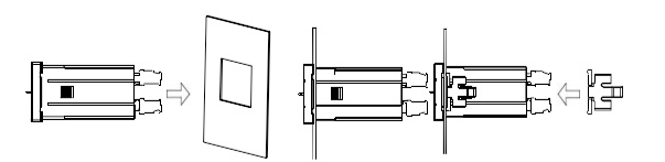
Installation Diagram

Installation is in screen mount style, using side clips to squeeze and secure. The specific procedure is as follows:
1. On the distribution board, select a suitable location to drill a mounting hole of the same size as the opening for the installed instrument.
Remove the remaining current relay and detach the securing clip.
3. Insert the gauge into the instrument socket on the distribution panel. After insertion, secure the gauge with the clip.
Installation Diagram:

谢继东 (Mr.)
15821713522
15821713522
253 Yu Guilu, Jiading District, Shanghai
b2b.china9.net © Zhongshang 114 Hebei Network Technology Co., Ltd.Address: Room 6009, Oriental New World Center, No.118 East Zhongshan Road, Qiaoxi District, Shijiazhuang City, Hebei ProvincePlatform Service Hotline: 4006299930
